开关系列
● 概 述
FZN21-12D/T630-20、FZN21-12DR/T125-31.5型高压真空负荷开关及组合电器用于三相交流12kV、50Hz的配电系统中,具有结构紧凑、体积小、重量轻、寿命长、关合开断能力强、安全可靠等优点,与熔断器配合使用(简称组合电器),可替代造价较高的熔断器,其操作和维护简单方便。
● 型号含义

● 使用环境条件
海拔高度≤1000m;
周围环境温度-25℃~+40℃;
相对湿度:日平均值不大于95%,月平均值不大于90%;
无导电性尘埃、腐蚀性气体和水蒸气的场所;
无火灾和爆炸危险的场所;
无剧烈振动、倾斜度小于3°的场所。
● 主要技术参数

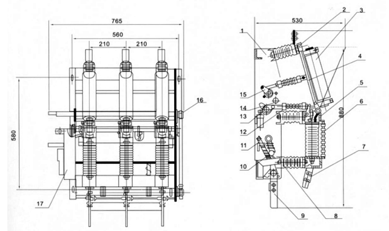
● 结构特点、性能(及外形安装尺寸,见图)

FZN21-12型负荷开关及组合电器主要由框架、隔离开关(或熔断器充电隔开开关)、真空灭弧室、接地开关、操作机构等组成。
本产品结构紧凑、体积小、寿命长,关合开断能力强、操作维护简便。真空开关配电有电操作机构和储能弹簧,可实现快速合分操作。隔离开关、真空开关,接地开关之间互相联锁,以防止误操作。
1、框架 2、隔离刀 3、熔断器 4、绝缘拉杆 5、上支架
6、灭弧室 7、接地刀静触头 8、绝缘子 9、接地刀
10、接地弹簧 11、分闸弹簧 12、绝缘拉杆 13、主轴
14、脱口机构 15、付轴 16、联动拉杆 17、操作机构
负荷开关无熔断器(项3)和脱口机构(项14)
● 订货须知
订货时须说明产品的型号、名称、规格、数量、操作机构电压。
● FZN21-12D/T630-20,FZN21-12DR/T125-31.5户内真空负荷开关-熔断器组合电器外型尺寸图
